編輯:北京凌鷹起重 瀏覽:8022 時間:2018-12-30
現有的電動葫蘆由于體積較大,不適合在煤礦的井下機電硐室起吊、裝卸設備和物件,而采用手拉葫蘆吊裝重物,其升降速度較慢,操作工人的體力消耗會很大,由此導致工作效率較低。
現有的電動葫蘆由于體積較大,不適合在煤礦的井下機電硐室起吊、裝卸設備和物件,而采用手拉葫蘆吊裝重物,其升降速度較慢,操作工人的體力消耗會很大,由此導致工作效率較低。
為了提供一種體積小,結構緊湊,非常適合在煤礦的井下機電硐室起吊、裝卸設備和物件,可降低工人勞動強度,提高工作效率的利用手拉葫蘆和煤電鉆改造成的電動葫蘆。
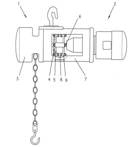
該款電動葫蘆,包括手拉葫蘆和煤電鉆,手拉葫蘆包括殼體和手拉轉輪,手拉轉輪上沒有纏繞搭接手拉鏈,所述煤電鉆包括機殼和卡裝在煤電鉆的卡具上的鉆桿,煤電鉆上設有開關,所述手拉轉輪與所述鉆桿同軸設置,手拉轉輪朝外的端面朝向所述煤電鉆,所述殼體和所述機殼采用固定架固定相連,所述手拉轉輪朝外的端面上固定有手拉轉輪法蘭盤,手拉轉輪法蘭盤的邊緣上均布有多個螺栓孔,每個螺栓孔處采用緊固件分別與一個皮帶條的一端固定相連,每個皮帶條的另一端通過鉆桿法蘭盤上的螺栓孔采用緊固件連接固定在鉆桿法蘭盤的邊緣上,鉆桿法蘭盤安裝固定在所述鉆桿的端頭上,所述手拉轉輪法蘭盤和鉆桿法蘭盤之間具有20-120mm的彈性間隙,所述煤電鉆上的開關為雙向手動開關,所述煤電鉆上的開關安裝在防爆開關盒中。
其中所述煤電鉆上的開關為雙向手動開關,所述手拉轉輪法蘭盤和所述鉆桿法蘭盤上的螺栓孔數量同為3個或4個或6個或8個。
其中所述煤電鉆上的開關安裝在防爆開關盒中。
其中所述排灰筒的內側壁的左、右兩側和后側的下部分別焊接固定有筋板,筋板的底端在翻轉蓋板與出灰口相貼時與翻轉蓋板的上表面相貼。
該電動葫蘆采用獨特的設計,利用手拉葫蘆和煤電鉆相結合,其手拉葫蘆的手拉轉輪上沒有纏繞搭接手拉鏈,煤電鉆包括機殼和卡裝在煤 電鉆的卡具上的鉆桿,手拉轉輪與鉆桿同軸設置,手拉轉輪朝外的端面朝向煤電鉆,殼體和機殼采用固定架固定相連,手拉轉輪朝外的端面上固定有手拉轉輪法蘭盤,手拉轉輪法蘭盤上均布有多個螺栓孔,每個螺栓孔處采用緊固件分別與一個皮帶條的一端固定相連,每個皮帶條的另一端通過鉆桿法蘭盤上的螺栓孔采用緊固件連接固定在鉆桿法蘭盤上,鉆桿法蘭盤上的螺栓孔位置與手拉轉輪法蘭盤上的螺栓孔位置對應,鉆桿法蘭盤安裝固定在鉆桿的端頭上。在使用時,當需要起吊重物時,可利用煤電鉆的電機帶動鉆桿按照需要的方向旋轉,鉆桿就會通過鉆桿法蘭盤、多個皮帶條8和手拉轉輪法蘭盤帶動手拉葫蘆的手拉轉輪按照需要的方向轉動,從而完成對重物的起吊。由于采用皮帶條這種軟連接設計將煤電鉆的電機產生的扭矩傳遞到手拉葫蘆的手拉轉輪,保證了手拉葫蘆轉動的平穩性,再由于煤電鉆的輸出轉速較低,不需要另加減速裝置,故本發明的利用手拉葫蘆和煤電鉆改造成的電動葫蘆的結構非常緊湊,體積也較小,尤其適宜井下機電硐室起吊、裝卸設備和物件、以及安撤面使用,并可降低工人勞動強度,提高工作效率。
下面結合附圖對利用手拉葫蘆和煤電鉆改造成的電動葫蘆有更進一步的了解。


上一條: 如何提高風電葫蘆運行的穩定性?
下一條: 一種新型的環鏈電動葫蘆平衡結構介紹

